மீண்டும் புத்துணர்ச்சியுடன் திரும்பும் மோட்டோரோலா நிறுவனம்.!
செல்போன் தயாரிப்புகளில் முன்னணி நிறுவனங்களில் ஒன்றாக இருந்த மோட்டோரோலா நிறுவனம், தனது வாடிக்கையாளர்களுக்கு மடிக்கக்கூடிய தொலைபேசிகளை அறிமுகம் செய்து அசத்தியது.

மோட்டோரோலாவை அடுத்து சாம்சங் நிறுவனமும் மடிக்கக்கூடிய தொலைபேசியை அறிமுகப்படுத்தினாலும் இரு நிறுவனங்களும் சில சிக்கல்களை எதிர்கொண்டது. இருப்பினும் மோட்டோரோலா நிறுவனத்தின் RAZR மாடல் தற்போது மீண்டும் மடிக்கக்கூடிய வகையில் வெற்றிகரமாக செயல்பட முடியும் என்ற நம்பிக்கையை ஏற்படுத்தியுள்ளது.

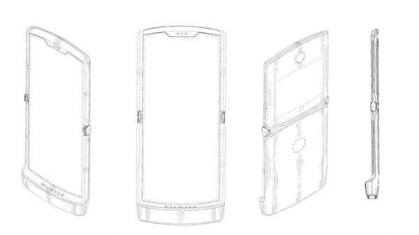
மோட்டோரோலா RAZR
மோட்டோரோலா RAZR இந்த ஆண்டு ஆகஸ்ட் மாதம் தொடங்கப்பட உள்ளது. கடந்த சில ஆண்டுகளில் செல்போன் சந்தையில் விலகியிருந்த இந்த நிறுவனம் தற்போது மீண்டும் சந்தையில் நுழைவதற்கான முயற்சியில் ஈடுபட்டுள்ளது. இந்நிறுவனத்தின் புதிய முயற்சியாக மீண்டும் மடிக்கக்கூடிய செல்போனான மோட்டோரோலா RAZR என்பதை அறிமுகம் செய்யவுள்ளது. இந்த மாடல் வெற்றி பெற்றால் மீண்டும் மடிக்கக்கூடிய தொலைபேசி சந்தை உருவாக வாய்ப்பு உள்ளது. எனவே ஒரு புதிய சந்தையை உருவாக்கும் பொறுப்பில் தற்போது மோட்டோரோலா உள்ளது.

மடிக்கக்கூடிய செல்போன்
சாம்சங் நிறுவனம் மடிக்கக்கூடிய தொலைபேசிகளை அறிமுகம் செய்து ஒரு மோசமான அனுபவத்தை பெற்றது. தொழில்நுட்ப வல்லுனர்கள் மற்றும் பயனாளிகள் மடிக்கக்கூடிய செல்போன்களில் அதன் ஸ்க்ரீன் உடைந்து வருவதாக பெரும்பாலும் புகார் தெரிவித்தனர். ஆப்பிள் நிறுவனமும் மடிக்கக்கூடிய செல்போன்களை தயாரிக்க முயற்சி செய்து அதன் பின் தற்போது அந்த முயற்சியை தற்போது கைவிட்டுவிட்டது. மோட்டோரோலா நிறுவனத்தின் இந்த முயற்சி வெற்றி பெற்று மீண்டும் சந்தையில் ஒரு ஜாம்பவனாக ஆக இந்நிறுவனம் திட்டமிட்டுள்ளது.

கடுமையான போட்டி
கடந்த 2005ஆம் ஆண்டு மோட்டோரோலா நிறுவனம் RAZR மாடலை மீண்டும் வெளியிட்டது. ஆனால் கடுமையான போட்டியின் காரணமாக எதிர்பார்த்த வெற்றியை பெற முடியவில்லை. கடந்த. 2007 ஆம் ஆண்டில் ஆப்பிள் ஐபோனை அறிமுகப்படுத்தியதும், 2008 ஆம் ஆண்டில் கூகிளின் ஆண்ட்ராய்டை இயக்கும் எச்.டி.சி ஜி 1 ஐயும் ஆதிக்கம் செலுத்தியதும் மோட்டோரோலா RAZR தோல்வி அடைய ஒரு காரணமாக இருக்கலாம். மேலும் RAZR ஒரு ஸ்மார்ட்போன் அல்ல என்பதும் இம்மாடல் தோல்வி அடைய மேலும் ஒரு காரணமாக இருந்தது.

மோட்டோரோலா நிறுவனத்தை வாங்கிய கூகுள்
மோட்டோரோலா நிறுவனத்தை வாங்கிய கூகுள் அதன் பின்னர் 2016ஆம் ஆண்டு லெனோவாவுக்கு சுமார் 3 பில்லியன் டாலருக்கு விற்பனை செய்தது. இந்த நிலையில் மோட்டோரோலோ ஒரு நல்ல தொடக்கத்தை மீண்டும் ஏற்படுத்த விரும்புகிறது. இந்நிறுவனம் ஸ்மார்ட்போனை மடிக்கக்கூடிய வகையில் கொடுத்தால் நிச்சயம் பெரும் வரவேற்பை பெறும் என எதிர்பார்க்கப்படுகிறது. தற்போதைய தொலைபேசி ஜாம்பவான்கள் தங்கள் ஸ்மார்ட்போன்களில் மடிக்கக்கூடிய வடிவமைப்பை இணைக்க முயற்சித்து வரும் நிலைய்ல் மடிக்கக்கூடிய ஸ்மார்ட்போன்கள் ஒரு புதிய புரட்சியை ஏற்படுத்தினால் அது ஆச்சரியப்படுவதற்கில்லை

மோட்டோரோலா சரியாக செய்யும்
RAZR மாடல் என்பது பயனாளிகள் விரும்பிய மாடல்களில் ஒன்று. ஆனால் லேட்டஸ்ட் தொழில்நுட்பத்தை இந்நிறுவனம் அப்டேட் செய்யாததால் சந்தையில் நீடிக்க முடியவில்லை. ஆனால் தற்போது புதிய தொழில்நுட்பத்தை இணைக்கும் அளவுக்கு இந்நிறுவனம் முன்னேறியிருக்கும் என நம்பப்படுவதால் பயனாளிகள் மீண்டும் இந்நிறுவனத்திற்கு ஆதரவு தருவார்கள் என எதிர்பார்க்கப்படுகிறது. இன்றைய போட்டியான மொபைல் உற்பத்தித் துறையில் இன்றைய கண்டுபிடிப்பாளர்கள் புதிய யோசனைகளை செயல்படுத்தினால் மட்டுமே சந்தையில் நீடிக்க முடியும் என்பதால் அதனை மோட்டோரோலா சரியாக செய்யும் என நம்புவோம்.

நிச்சயம் இந்த முயற்சி ஒரு வெற்றியாக இருக்கும்
மோட்டோரோலா RAZR ஒரு நல்ல பேசிக் ஸ்மார்ட்போனாகவும், அதே நேரத்தில் புதிய ஸ்மார்ட்போன் அம்சங்களையும் கொண்டிருந்தால் நிச்சயம் இந்த முயற்சி ஒரு வெற்றியாக இருக்கும் என்பதே அனைவரின் கருத்தாக உள்ளது


Click it and Unblock the Notifications