டிரிபிள் ஸ்கிரீன் லேப்டாப்பை கைப்பற்றிய லெனோவா.!
இந்த பேனல்கள் தொடுதிரை அம்சத்தை கொண்டவை என காப்புரிமை வெளிப்படையாக குறிப்பிடவில்லை.
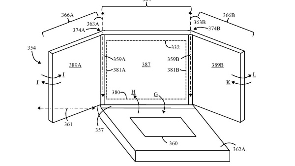
மும்மடிப்பு (Tri fold) திரை கொண்ட லேப்டாப்பிற்கான புதிய காப்பிரிமையை வென்றுள்ளது லெனோவா. உலக அறிவுசார் சொத்து ஆணையம் வெளியிட்ட ஆவணங்களின் படி, 2016ன் கடைசியில் காப்புரிமைக்கு விண்ணப்பித்துள்ளதாக தெரிகிறது. நெகிழ்வுதன்மையுடன் கூடிய பல்வேறு பகுதிகளில் பார்க்கக்கூடிய திரை தான் லெனோவாவின் கற்பனை.

இந்த கருவியில் உட்புறமாகவும் வெளிப்புறமாகவும் மடிக்கக்கூடிய ஓ.எல்.ஈ.டி பேனல்கள் பயன்படுத்தப்பட்டுள்ளன.பாரம்பரிய லேப்டாப்களில் எவ்வளவு திரையை பயன்படுத்துவோமே அதை விட இந்த வடிவமைப்பில் மும்மடங்கு அதிகமாக பயன்படுத்தலாம். இந்த நெகிழ்வான முறையின் மூலம் கருவியின் திரையை எப்புறத்தில் இருந்தும் சுருட்டமுடியும். பிரெசன்டேசன் மற்றும் மல்டி ப்ளேயர் கேம்களில் இது மிகவும் உதவிகரமாக இருக்கும் என லொனேவா நம்புகிறது.
இந்த பேனல்கள் தொடுதிரை அம்சத்தை கொண்டவை என காப்புரிமை வெளிப்படையாக குறிப்பிடவில்லை. திரையின் இருபுறங்களிலும் கேமரா மற்றும் மைக்ரோபோன் உள்ளன. மேலும் காப்புரிமை விண்ணப்பத்தில், ஸ்மார்ட்போன்களில் இந்த மும்மடிப்பு அம்சத்தை பயன்படுத்தும் சாத்தியக்கூறுகள் பற்றியும், முடிந்தால் டேப்லெட்களிலும் பயன்படுத்தப்படும் என கூறப்பட்டுள்ளது.
காப்புரிமை ஆணையம் வெளியிட்டுள்ள ஆவணங்களின் அடிப்படையில், அடிப்படை பொறியியல் கோட்பாடுகள் இரு மற்றும் மூன்று திரை லேப்டாப்களை அனுமதிக்கின்றன. லெனோவா சுருட்டக்கூடிய கருவிகளுக்கு திட்டமிடுவதற்கு ஆதாரம் அதன் முந்தைய முயற்சிகளே ஆகும்.
ரேசார் நிறுவனம் கடந்த வருடமே மூன்று திரையுள்ள லேப்டாப்களுக்கான திட்டவடிவமைப்பை உருவாக்கியது. அடுத்த ஓராண்டிற்குள் சாம்சாங் மற்றும் ஹூவாய் நிறுவனங்கள் மடிக்கக்கூடிய கருவிகளை வெளியிடவுள்ளன.
அதே நேரம், சிறுகுறு நிறுவனங்கள் மற்றும் ஸ்டார்ப்அப்களுக்கான புதிய வV தொடர் லேப்டாப்களை லெனொவா வெளியிட்டள்ளது. V330 லேப்டாப்பில் தொழில்முனைவோர்களுக்கான அம்சங்களான அல்ட்ராபே( அதன் மூலம் ஆப்டிகல் டிரைவ் அல்லது கூடுதல் பேட்டரி பயன்படுத்தலாம்), விரைவாக சார்ஜ் ஆகும் பேட்டரி, சிறப்பான கீபோர்டு, யூ.எஸ்.பி சி டைப் மற்றும் 3.0 போர்ட் போன்றவை உள்ளன. மேலும் இதில் பாதுகாப்பு அம்சங்களுக்காக, திங்க்சட்டர் என்னும் வெப்கேம் மற்றும் டச் டைப் பிங்கர் பிரிண்ட் ரீடரும் உள்ளது. இந்த லேப்டாப்-ன் துவக்க விலை ரூ48,000.

இந்த வெளியீட்டைப் பற்றி லெனோவா இந்தியாவின் இயக்குநர் ஆஷிஷ் சிக்கா கூறுகையில், சிறுகுறு நிறுவனங்கள் தான் நாட்டின் முதுகெலும்பாக உள்ளன. அவை தங்கள் வாடிக்கையாளர்களின் தேவைகளை பூர்த்தி செய்யும் வகையில் ஏற்கனவே உள்ள உட்கட்டமைப்புடன், மொபைல் கம்ப்யூட்டிங்கை விரிவுபடுத்தி டிஜிட்டல் பாதையில் பயணிக்கின்றன. இந்த V தொடர் லேப்டாப்பை வெளியிட்டதன் மூலம், பாதுகாப்பான மற்றும் அதிக செயல்திறனுள்ள கணிணி சேவை தேவைப்படும் தொழில் வல்லுநர்கள் மற்றும் தொழில்முனைவோர்களின் மீது கவனம் செலுத்துகிறோம் என்கிறார்.


Click it and Unblock the Notifications